华羿微电荣膺<span style='color:red'>西安</span>民营企业100强
热烈祝贺<span style='color:red'>西安</span>稳先微荣获第三届秦创原高价值专利大赛成长组二等奖
  为培育高价值发明专利,营造高质量创新生态,陕西省知识产权局、省教育厅、省科技厅、省工信厅、省人社厅联合主办第三届秦创原高价值专利大赛。西安稳先以《具有船运模式(Shipping Mode)锂电池保护芯片》荣获第三届秦创原高价值专利大赛成长组二等奖。  稳先微锂电保护芯片特有的船运模式运用零外围技术,无需其他器件即可准确激活。进入船运模式后,通过专利技术使芯片自身与整个电池系统基本实现“0”耗电,能大幅降低电池在运输、储存过程中的电流消耗,延长电池的待机时间。  其中,WSDF5316是稳先微首创自带船运功能的三合一智能锂电池保护芯片,采用多脉冲启动(解决误触发问题)、重启复位功能(解决宕机死机问题)和检测流程闭环(信号反馈,保证100%船运功能),能有效解决TWS耳机库存周期长、电池容量小、系统自耗电,导致产品首次开机出现零电量等问题。  目前,稳先微锂保芯片已被众多TWS耳机产品所应用,与Redmi、一加、倍思、OPPO、realme、魅族、传音、漫步者、声阔、FIIL等头部TWS耳机品牌达成深度合作。  自公司成立以来,稳先微在技术研发与产品创新方面持续取得显著突破,企业累计获得超400项发明专利,组建专业的芯片研发中心与研发团队。稳先微从众多参选项目中脱颖而出、获此殊荣,是对其在锂电保护芯片领域技术积累的充分认可,也将激励公司持续以创新驱动发展,构建知识产权保护体系,为行业带来更多创新性的消费电子解决方案与产品。
关键词:
发布时间:2024-09-24 09:49 阅读量:1248 继续阅读>>
美光<span style='color:red'>西安</span>封装和测试工厂扩建项目破土动工
喜讯 | <span style='color:red'>西安</span>稳先微荣获评定2023年陕西省知识产权示范企业
  近日,为加强西部知识产权强企的示范引领作用,陕西省知识产权局公布了《陕西省知识产权局关于确定2023年度陕西省知识产权示范企业和优势企业的通知》,其中,西安稳先微荣获评定,跻身“2023年陕西省知识产权示范企业”行列。  图 | 2023年度陕西省知识产权示范企业名单一览  近年来,国家对引导和培养国家知识产权示范和优质企业予以重视,于企业而言,如何部署自身的知识产权战略是衡量是否具备创新能力的重要基础,在正常运营的基础上,企业需全面发展知识产权创造、运用、保护和管理能力,不断提升企业的自主创新能力,进而推动技术创新和产品升级,因而,被认定为“知识产权示范企业”不仅是给予企业在知识产权布局和管理上的最大认可,也有益于企业内外部的发展,提高企业无形资产的占比。  图 | 稳先微知识产权相关证书  目前,稳先微团队研发人员占比将近60%,企业累计获取300余项发明专利,其中11项为PCT专利,6项为美国专利。在这知识产权一板块,稳先微通过多渠道、多方式发展与完善相关工作,注重研发创新,积极引进、培养、用好专业人才,建立符合企业发展的人才引进基地培养管理体系,搭建更高水平的人才队伍,持续产出适配公司发展定位和市场应用需求的芯片产品,促进研发技术更新迭代,保障产品性能领先的核心竞争力。  作为知识产权示范企业,稳先微将不负众望,继续深耕芯片自主研发领域,积极践行知识产权战略,为企业可持续发展开拓更为广阔的前景。
关键词:
发布时间:2023-12-01 15:30 阅读量:2268 继续阅读>>
<span style='color:red'>西安</span>中科阿尔法AH950电流传感器在UPS中的应用
  不间断电源(UPS)是将蓄电池与主机相连接,通过主机逆变器等模块电路将直流电转换成市电的系统设备。它主要用于给单台计算机、计算机网络系统或其他电力电子设备如电磁阀、压力变送器等提供稳定、不间断的电力供应,保证这些设备仪器的不间断运行,防止计算机数据丢失、电话通信网络中断或仪器失去控制。  不间断电源广泛应用于:矿山、航天、工业、通讯、国防、医院、计算机业务终端、网络服务器、网络设备系统、铁路、航运、交通、电厂、变电站、核电站、无线通讯系统、程控交换机能量转换设备、控制设备及其紧急保护系统、个人计算机等领域。  霍尔电流传感器主要适用于交流、直流、脉冲等复杂信号的隔离转换,通过霍尔效应原理使变换后的信号能够直接被DCS、AD、DSP、PLC、二次仪表等各种采集装置直接采集,具有响应时间快,电流测量范围宽精度高,过载能力强,线性好,抗干扰能力强等优点。  霍尔电流传感器可以直接将被测主回路电流转换成按线性比例输出的4~20mA直流电流信号。在应急配电间UPS配电柜蓄电池断路器下口安装一个霍尔电流传感器,它的作用可以将蓄电池浮充电流转化为可以被DCS模拟量卡件接受的4~20mA直流电流信号。  在中心控制室上位机中定义新接入的4~20mA模拟量输入通道进行参数量程、报警值以及历史趋势组态,并将其分配到相应控制器中。使用画面组态软件进行参数画面图形组态,下装程序,实现UPS蓄电池浮充电流的中心控制室远程监测功能。最后通过现场测量蓄电池浮充电流值与DCS人机界面显示浮充电流值相对比,确认DCS采集数值准确。  通过增设霍尔电流传感器实现了对无人平台UPS蓄电池浮充电流的采集,通过铺设电缆、中心控制室组态等实现了DCS对蓄电池浮充电流的远程在线监控,加强了对无人平台重要设备的管理。  西安中科阿尔法电子科技有限公司AH950系列是一款基于霍尔效应原理的开环式电流传感器模组,为交流或直流检测提供了更加经济、精确的解决方案,广泛应用于工业、商业和通信系统中交流或直流电流检测。该产品可以用于电机控制、负载检测和负载管理、电源和DC-DC转换器、光伏逆变器、UPS、过流保护和中低功率变频器电流检测等应用。  引脚号名称说明  1VCC电源  2GND地  3VOUT模拟输出信号  4IP+采样电流的端子  5IP-采样电流的端子  AH950输出电压由低偏移、斩波稳定的BCDMOS霍尔IC提供,根据不同电流量程,在工厂内部会对输出电压进行精确校准。当施加的外部电流流过传导路径(从引脚4到引脚5)时,芯片的输出具有正斜率(>VOQ)。该传导路径的内部电阻典型值为120uΩ,可实现低耗能。导电路径的端子(引脚4和引脚5)与信号端(引脚1至3)电气隔离。这使得AH950电流传感器模组可以在电流检测应用中使用,而无需使用其他昂贵的隔离技术。  AH950系列所有引脚均镀锡,封装材料不含铅,符合RoHS标准。  产品功能  (1)快速的输出阶跃响应时间:4μs  (2)单电源供电:4.5~5.5V  (3)120kHz信号带宽  (4)零磁滞  (5)内部导体电阻:120μΩ  (6)输出电压:2.5V或50%VCC  (7)极其稳定的静态输出电压  (8)工作温度:-40℃~150℃  (9)检测范围:±50A,±100A,±150A,±200A  (10)安规相关认定:(UL Ready)  (11)介电强度:4800Vrms 1min  (12)隔离工作电压:990 VDC or VPK,680Vrms  (13)电气间隙:5.2mm  (14)爬电距离:7.2mm  (15)封装形式:CB-2-3(PFF)  产品应用  UPS(不间断电源)、电机相位和轨电流检测、直流电源、过流保护、中低功率变频器电流检测、充电器和转换器
关键词:
发布时间:2023-11-17 15:19 阅读量:2926 继续阅读>>
三星电子:暂无计划在<span style='color:red'>西安</span>投建8英寸晶圆代工厂
200名三星员工包机抵达<span style='color:red'>西安</span>,协助芯片工厂扩产
  由于新冠疫情在全球范围内蔓延。自 3 月 28 日凌晨 0 时起,中国已禁止所有外国人入境,以防止境外病例移入。  近日,据 businessKorea 报道,三星电子正在与中国政府协商,希望能派遣 200 名左右的半导体工程师到中国,以使西安第二座工厂的扩产计划如期进行。  对于协商结果,据路透社报道,三星电子表示,中国政府已允许该公司旗下 200 名员工入境,支持其西安 NAND 芯片厂的扩建工作。  近期,中韩外交部门举行副部长级会议,并决定为两国企业开通“快速通道”,允许商务以及技术人员通行,以确保全球供应链的正常运行。  中国在经历了几个星期近乎瘫痪的封城措施之后,现在正试图重启经济。正因如此,三星位于西安的第二座内存厂迎来了这一好消息。  三星电子发言人表示,周三,一架特许的中国国航飞机搭载了三星电子的百余名员工。该发言人进一步指出,公司员工抵达西安后将遵循当地政府政策。  与此同时,韩国驻西安总领事馆的一名干事告诉路透社,“三星员工不会被免除陕西省 14 天的检疫规定。他们抵达后将在机场接受冠状病毒检测,并将被送往中国当局指定的酒店。”  西安工厂是三星电子在存储器半导体生产领域的唯一海外基地。三星在 2012 年落户西安,2013 年投资 108 亿美元,兴建一期项目,并于 2014 年建成投产,满载月产能 13 万片。  三星西安二期项目总投资 150 亿美元,第一阶段投资约 70 亿美元,第二阶段为 80 亿美元。二期一阶段于 2018 年兴建,今年 3 月产品正式下线上市,主要生产的是第五代 96 层 3D V-NAND 芯片,不仅满足中国市场需求,还通过韩国总部远销欧美、东南亚等地,用于满足不断增长的存储需求。  去年 12 月,三星电子表示对其中国西安芯片工厂增加 80 亿美元的投资,以促进 NAND 闪存芯片的生产。据悉,二期项目预计于 2021 年下半年竣工,预计将用于投产 128 层或更高堆叠层数的 3D NAND 芯片。建成后将新增产能每月 13 万片,新增产值 300 亿元。
发布时间:2020-04-24 00:00 阅读量:2532 继续阅读>>
加大生产计划,三星电子考虑对<span style='color:red'>西安</span>工厂追加投资
据BusinessKorea报道,韩国科技巨头三星电子正考虑对其在陕西省西安市的第二座半导体项目代工厂加注投资。但目前中美贸易战火未歇,也为三星的追加投资西安工厂计划增加了不确定性……据证券和半导体行业消息人士透露,三星电子计划在明年将内存芯片设施的资本支出增加至65亿美元(合462亿元人民币),预计增加的部分资金将用于其位于西安的第二家半导体工厂。此外,三星电子将在年底宣布这项投资计划。此前,在2014年竣工的三星西安工厂,已经完全实现产能满载,仍然无法满足NAND闪存供应需求。2017年8月,三星电子与陕西省政府签署了建设二工厂的谅解备忘录。三星还表示,计划在2020年为止的三年内投资一工厂和二工厂共计70亿美元(8.38万亿韩元)。按照“三年之约”,三星必须在明年8月前完成投资,还要全面运营西安二工厂的生产线。据了解,三星西安二工厂的新生产线设备已安装完毕并已经开始试运行,预计明年2月可以实现量产。业内人士认为,三星电子的额外投资计划将为当前供过于求的NAND闪存市场带来更多不确定性,并且可能成为竞争加剧的NAND市场的差异化战略。与DRAM不同,NAND闪存市场正在逐渐显示出复苏的迹象。DRAMeXchange的数据显示,上个月底,128Gb多级单元(MLC)NAND闪存产品的价格为4.11美元(4,918韩元),与上个月相比变化不大。该数字在7月底两年来首次上升,8月也增长了2%以上。报道指出,目前在NAND闪存市场上,三星电子、东芝、西部数据、美光、SK海力士和英特尔之间竞争激烈,但尽管三星电子的加码投资和扩张生产不会对市场产生太大影响,一方面由于其他公司正在减产,三星电子也可以因此获得更多的市场份额。
关键词:
发布时间:2019-10-11 00:00 阅读量:2079 继续阅读>>
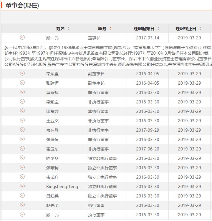
传中兴新董事长为<span style='color:red'>西安</span>微电子副所长李自学
据知情人士透露,西安微电子党委书记兼副所长李自学,将出任中兴通讯新董事长。中兴通讯官方对此不予置评。该知情人士称,从时间上和董事成员提名来看,李自学出任的可能性非常大。中兴通讯第一大股东是中兴新,中兴新的背后股东为西安微电子所(34%股份)+航天广宇(17%)+中兴维先通(49%股份)。6月12日,中兴通讯在A股、港股同时发布公告,称公司已与BIS达成《替代的和解协议》。根据协议,所有罚款全部到账后,BIS才将终止激活拒绝令,并将中兴通讯从《禁止出口人员清单》中移除。根据早前国际电子商情的报道,BIS要求中兴更换董事会成员的传闻也得到了证实,限定在6月8日开始后的30日内,完成更换中兴通讯和中兴康讯的全部董事会成员,包括两家公司的高级副总裁及以上所有的高层领导,以及所有涉事职员。中兴通讯此前公告称,2017年度股东大会定于2018年6月29日召开。本次股东大会将增加临时提案,主要涉及《公司章程》及《董事会议事规则》的修改,以及董事和独立董事的选举议案。整体来看,中兴通讯此次《公司章程》及《董事会议事规则》的修改实则是为董事和独立董事的选举铺路,公司可能面临上市以来最大规模的一次董事会大换血。此次股东大会将审议选举李自学、李步青、顾军营、诸为民、方榕为中兴通讯第七届董事会非独立董事的议案。上月,知情人士称,中兴通讯非执行董事田东方已经被任命为中兴通讯党委书记。田东方此前亦任西安微电子技术研究所(771所)所长。李自学同样来自771所,任党委书记兼副所长。中兴通讯创始人、已退休的侯为贵也出身于771所,该所隶属于中国航天科技集团公司第九研究院。目前,尚不清楚原董事长殷一民下一步去向。附李自学个人简历:李自学,男,1964年出生。1987年毕业于西安交通大学电子元件与材料专业,获工学学士学位,具备研究员职称。同年,进入西安微电子技术研究所从事微电子技术的研发及管理工作,1987年至2010年历任技术员、副主任、混合集成电路事业部副部长、部长。2010年至2014年历任西安微电子技术研究所副所长、党委副书记、纪委书记、监事长。2014年至2015年任西安微电子技术研究所党委书记兼纪委书记、监事长、副所长。2015年至今任西安微电子技术研究所党委书记兼副所长。
关键词:
发布时间:2018-06-27 00:00 阅读量:2307 继续阅读>>
三星<span style='color:red'>西安</span>存储芯片二期项目正式开工
3月28日,三星(中国)半导体有限公司存储芯片二期项目开工奠基仪式在西安举行,三星电子在未来三年将为该项目投资70亿美元,工厂扩建预计到2019年结束。3月28日上午,去年8月底正式签约的三星(中国)半导体有限公司存储芯片二期项目举行开工奠基仪式,工信部部长苗圩、西安省政府官员以及三星电子首席执行官金奇南社长等出席了开工仪式。2012年,西安高新区成功引进三星电子存储芯片项目,其一期项目总投资达100亿美元。该项目成为三星海外投资历史上投资规模最大的项目,也是改革开放以来我国电子信息行业最大外商投资项目,陕西乃至西部地区引进的最大外商投资高新技术项目。三星电子存储芯片一期项目2014年5月竣工投产,该项目带动了100多家配套企业落户西安高新区,使西安形成了较为完整的半导体产业链。除三星(中国)半导体有限公司之外,三星集团还先后在西安高新区设立了6家公司,涉及动力电池、半导体研发、金融、贸易、建筑等多个领域。为满足全球IT市场对高端V-NAND 产品需求的增加,2017年8月30日,三星电子株式会社与陕西省政府签署投资合作协议,决定在西安高新综合保税区内建设三星(中国)半导体有限公司存储芯片二期项目,当时三星电子宣布,未来3年将为该项目投资70亿美元,扩大其在中国西安工厂的NAND Flash存储芯片产能。三星电子期待通过此次二期投资,能在中国提高制造业竞争力,并能更加快速地应对中国市场的需求。金奇南在致辞中表示,“将会通过二期的成功运营生产最尖端的存储芯片,为客户提供独具匠心的解决方案,并以此为全球IT市场的成长做出贡献。”据悉,三星电子向媒体表示,该项目整个工厂的扩建工作要到2019年结束。
关键词:
发布时间:2018-03-29 00:00 阅读量:1908 继续阅读>>

跳转至

/ 2

  • 一周热料
  • 紧缺物料秒杀
型号 品牌 询价
TL431ACLPR Texas Instruments
MC33074DR2G onsemi
RB751G-40T2R ROHM Semiconductor
CDZVT2R20B ROHM Semiconductor
BD71847AMWV-E2 ROHM Semiconductor
型号 品牌 抢购
BU33JA2MNVX-CTL ROHM Semiconductor
ESR03EZPJ151 ROHM Semiconductor
IPZ40N04S5L4R8ATMA1 Infineon Technologies
STM32F429IGT6 STMicroelectronics
BP3621 ROHM Semiconductor
TPS63050YFFR Texas Instruments
热门标签
ROHM
Aavid
Averlogic
开发板
SUSUMU
NXP
PCB
传感器
半导体
关于我们
AMEYA360商城(www.ameya360.com)上线于2011年,现有超过3500家优质供应商,收录600万种产品型号数据,100多万种元器件库存可供选购,产品覆盖MCU+存储器+电源芯 片+IGBT+MOS管+运放+射频蓝牙+传感器+电阻电容电感+连接器等多个领域,平台主营业务涵盖电子元器件现货销售、BOM配单及提供产品配套资料等,为广大客户提供一站式购销服务。

请输入下方图片中的验证码:

验证码